
下面稍微介绍一下如何使用阿里云服务器安装宝塔面板。
一、准备
阿里云的云服务器,即 阿里云ECS,默认的用户名 root,密码的话可以修改。
远程连接云服务器使用 ssh 软件工具,使用的是公网ip。
注意事项:出于性能考虑,服务器的操作系统一定要选Linux版本(centos或者ubuntu),不要选Window。
主要步骤:拥有一台云服务器》ssh工具连接云服务器》安装宝塔面板》配置云服务器安全组(放行端口)》宝塔面板在线访问成功
二、安装面板
1、使用ssh工具连接云服务器
windows下可以使用XShell,macOs的可以使用终端。
因为SSH工具有很多种,找到自己用的舒服的工具就可以,不用纠结使用哪一种。
我自己是用的FinalShell这一款SSH工具来进行Linux远程连接的,如何认为不安全的话,也可以继续用Xshell,只是需要激活码,如下图

2、输入宝塔面板安装命令
温馨提示:宝塔面板最近升级到了7.0版本,Centos7以上的系统建议安装宝塔面板最新版:https://www./bbs/thread-19376-1-1.html(宝塔面板7.x版本,点击查看安装命令)
https://www./bbs/thread-30562-1-1.html(宝塔面板6.x版本,点击查看安装命令)
安装方法这里也有介绍(以宝塔面板5.x版本举例):http://www./bbs/thread-1186-1-1.html
以下安装命令是宝塔面板5.x版本的,请注意。如果安装出错了,就去安装宝塔面板7.x版本
Centos安装脚本:
yum install -y wget && wget -O install.sh http://download./install/install.sh && sh install.sh
Ubuntu/Deepin安装脚本:
wget -O install.sh http://download./install/install-ubuntu.sh && sudo bash install.sh
Debian安装脚本:
wget -O install.sh http://download./install/install-ubuntu.sh && bash install.sh
Fedora安装脚本:
wget -O install.sh http://download./install/install.sh && bash install.sh
前两者偏多。根据操作系统输入不同的安装命令,然后回车
此间不需要任何操作。
3、宝塔面板安装成功
稍等一分钟(有时候网速差可能久一点),然后不要关闭窗口
最终可以看到如下界面

这里会显示宝塔后台地址和账号密码,可以手动复制到记事本暂时存起来。
三、配置安全组
如果你已经会设置安全组的话,就可以省略这一步,直接浏览器访问宝塔面板
访问地址:http://云服务器公网IP地址:8888/
上面的黄色的字也说了,如果不能访问面板,请在安全组中放行端口。
因为刚装的系统,自然也没有放行8888端口,面板后台无法打开

下面我们添加安全组
1、进入云服务器管理后台
进入服务器(实例)主页,点击右边的查看更多,点击安全组配置。

2、然后可以看到一条安全组
点击配置规则(如果没有就新建一条安全组)
3、点击快速创建规则

4、可以看到如下页面

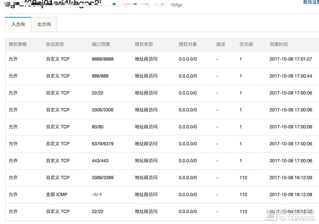
常用端口可以勾选,相当于多选。也可以自定义端口,比如我们要将8888和888添加进去。
授权对象像之前已经填的 0.0.0.0/0 一样。
基本就是这样。
5、最终安全记录如下

6、浏览器访问宝塔面板成功
然后我们再刷新之前的网页就能正常啦
在云服务器上安装宝塔面板成功之后,访问地址:http://云服务器公网IP地址:8888/
输入安装的时候产生的默认临时账号和密码登录。登录之后,请一定记得去改账号和密码哦!

7、修改临时账号和密码
为了安全考虑,在云服务器上安装完成宝塔面板之后,你应该马上修改你的宝塔面板登录账户和密码(注意:这个账户和密码不是宝塔面板官网的,而是每个云服务器访问宝塔面板需要用到的账户和密码)

修改账号和密码之后,后面访问登录就是你新设置的账号和密码了

8、绑定宝塔面板账号
首先解释下为什么要绑定宝塔面板账号:每一台云服务器上安装了宝塔面板之后都需要去绑定你在宝塔面板官网上注册的 宝塔账号 这样每台云服务器的宝塔面板都可以享受你这个账号付过费的服务了。
安装宝塔面板之后必做的事情:如何注册和绑定宝塔面板账号?

9、安装LNMP网站环境
LNMP网站环境是Linux+Nginx+Mysql+PHP的组合搭配网站程序环境,用来快速搭建各种开源的网站程序(WordPress,帝国CMS,织梦,Zblog等)
为什么选择LNMP? 主要归功于Nignx服务器的功能强大和性能出色,还能节省服务器内存开销。

然后会出现这个界面,需要等待十分钟左右,这会你可以去忙其它事情,过会来看。

10、安装开源建站程序
完成了以上步骤之后,你就可以随心所以的基于宝塔面板来安装各种建站程序了
-
基于宝塔面板安装WordPress个人网站(图文教程)
-
基于宝塔面板搭建Typecho博客网站(图文教程)
-
基于宝塔面板安装Hexo个人博客(图文教程)
-
基于宝塔面板对WordPress网站进行备份与恢复(网站迁移教程)
-
宝塔面板干什么用的? 有什么优点?搭建网站为什么要用它?
-
使用宝塔面板搭建网站之后的经验总结
原文地址:http://tencent./327.html
原文链接:http://www.360doc.com/content/20/0708/08/16968000_922917058.shtml
















