一、名词解释
指定某个端口分流到某条线路上,内网指定IP访问外网某些端口走特定的出口。
二、设置方法
分两种分流方式
1、外网线路

选择协议,选择你要指定的线路,在源地址处写上你的指定IP地址。写上你的目的端口。
2、下一跳网关

指定下一跳网关,只要对应的下一跳出口可达,即可通过此下一跳出口访问,实现类似静态路由的功能,并且支持源地址、目的地址、源端口和目的地端口的设置

【线路绑定】:勾选线路绑定,线路断线后会走绑定线路,不会自动切换到正常的线路上。
负载模式:负载模式分为新建连接数、源IP、源IP+源端口、源IP+目的IP、源IP+目的IP+目的端口。
| 【新建连接数】 | 系统会按比例轮循方式分配连接数。 |
| 【源IP】 | 系统会优先保证相同的源IP的流量走相同的接口。 |
| 【源IP+源端口】 | 系统会优先保证相同源IP+源端口走相同的接口。 |
| 【源IP+目的IP】 | 系统会优先保证相同的 源IP+目的IP 走相同的接口,使网络访问会更加稳定。 |
| 【源IP+目的IP+目的端口】 | 系统会优先保证相同的 源IP+目的IP+目的端口 走相同的接口,使网络更加稳定,相比上一个均衡模式,该模式会更均衡一些。 |
| 【主备模式】 |
主线路掉线,流量走备线路。按显示顺序区分主备线路。路由版本为3.4.5版本及以上支持此功能。 |
当分流线路为外网线路并且外网线路有多条的情况下为了实现流量的负载均衡可以使用我们的负载模式,如果分流方式为下一条网关就不能选择负载模式。
注意事项:
一般情况下,目的地址与源端口可以不写。只有你的内网地址到特定的地址的时候才需要写上你的目地地址。
举例:
1、把让内网192.168.15.100访问80端口的时候走wan2线路。

这样设置后,192.168.15.100要访问目的端口是80的端口的时候,就走WAN2线路
2、设置内网192.168.15.100的所有数据流量走WAN2线路


3、把让内网192.168.1.0网段访问80端口的时候走wan2线路。

这样设置后,192.168.1.1-192.168.1.254要访问目的端口是80的端口的时候,就走WAN2线路
4、设置内网192.168.1.0网段的所有数据流量走WAN2线路

这样设置后192.168.1.1-192.168.1.254网段所有的数据流量都走wan2线路
5、公司两条外网线,一条内网线路,一条公网线路,实现所有流量正常走公网线路,访问192.168.10.1时走内网线路
①、wan1选择默认网关
②、配置端口分流,填写上目的地址,选择内网线路wan2。

这样配置可以实现,路由器下面得设备上网的时候走得是wan1,访问192.168.10.1时,走wan2线路。
6.设置内网192.168.15.100,早上8:00-10:00走wan2接口,其他时间段走wan1

这样就可以实现,早上8点到10点走wan2线路,其他时间段走wan1.
注意:每条策略选择线路不得超过256条。
三、常见问题
—–分流生效优先级—-–
爱快流控路由提供了多种线路配置功能;
如:
网络设置–分流设置–端口分流、协议分流、域名分流,
网络设置–多线负载,
网络设置–静态路由,
外网设置–默认网关等。
以上功能同时使用时,优先级从高到低如下:
静态路由>域名分流>端口分流>协议分流>多线负载>默认网关
—–端口分流,线路是否可以选择多条线路—–
端口分流设置的时候,同一条规则选择多条线路的时候,是按照 “新建连接数模式”做的负载
—–掉线自动切换问题—–
在勾选了多条线路的情况下,如果有一条线路断线了,流量会怎么分配?
如果断线的线路上网方式是拨号上网的,那么流量会继续平均分配到其他线路上
如果断线的线路上网方式是DHCP或者静态IP,那么流量会全部走默认网关线路
—–端口分流,设置冲突的时候,如何生效—–

ID大的规则生效,上图设置的情况下,第二条生效,192.168.15.20会走WAN1,不会走WAN2
—-端口分流不成功处理思路—-
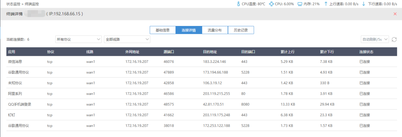
怎么判断端口分流是否成功?
在状态监控–终端监控中找到分流的IP地址查看对应终端详情。

在终端详情点击连接详情可查看线路是否分流成功。

如果线路不是走的分流线路可根据以下排查思路,排查一下。

—-端口分流失效处理思路—-
mips架构路由在系统设置–基础设置查看是否开启加速模式,如有开启关闭后再进行测试。

原文链接:https://easu.net/ikuai8-1/
















