WordPress是一个企业级开源的内容管理系统,常用于企业建站、跨境电商及个人博客 的搭建。本文介绍如何使用WordPress快速搭建网站。
如果你想使用WordPress搭建网站,你需要有一个云服务器来托管你的网站。云服务器是一种虚拟化的计算资源,可以让你在云端运行各种应用程序。云服务器有很多优势,比如高性能、高可用性、灵活扩展、低成本等。
华为云是一家全球领先的云服务提供商,提供了多种类型的云服务器,满足不同的业务需求。其中,华为云云耀云服务器L实例是一种专为大数据、人工智能、高性能计算等场景设计的高性能计算型云服务器,具有高性能、高能效、高安全性等特点。目前,该产品主要的应用场景适用于电商店铺管理、建站、小程序后台、开发测试等。
在本文中,我们将介绍如何通过华为云云耀云服务器L实例实现WordPress网站的部署。华为云云耀云服务器L实例主打“三步建站,两倍性能,简单上云第一步”,因此该产品最少三步就可以使用WordPress帮助各位快速搭建网站:
准备工作
在创建云耀云服务器L实例之前,请先注册华为帐号并开通华为云,并为帐号充值。请保证帐号有足够的资金,以免创建云耀云服务器L实例失败。
1.请注册华为帐号、开通华为云,并进行实名认证。
如果您已开通华为云并进行实名认证,请忽略此步骤。
2.为帐号充值。
在控制台界面上方,单击“费用与成本”,选择“ 资金管理 > 充值”,为帐号充值。

第一步:购买并配置云耀云服务器L实例
1.购买云耀云服务器 L 实例
① 访问云耀云服务器L实例主页:
其中,当前云耀云服务器L实例搞活动,点击购买按钮,就会跳转到领取优惠券的楼层。新注册的华为云V0新用户有专享礼券,领券购买包年低至105元!在华为云828营销季期间购买,还会有更多优惠!
② 下方的实例展示卡片中,挑选您需要的配置,单击“购买”。
③ 根据界面提示,设置云耀云服务器L实例参数,选择合适的镜像以便快速搭建环境。

这里,我们可以看到云耀云服务器L实例提供了非常丰富的镜像,包括宝塔面板、企业建站系统WordPress、Docker可视化Portainer、一站式DevOps平台GitLab等,根据实际需求配置相关参数。
④ 单击“去支付”,根据页面提示完成支付。
⑤ 单击“返回华为云云耀云服务解决方案控制台”,查看已创建的云耀云服务器L实例。

2.运行nginx_huaweicloud.sh脚本设置Nginx安全级别
① 在资源卡片上选择更多操作按钮(三个小点),单击“重置密码”。
② 根据界面提示,设置云服务器的新密码,并确认新密码。
运行中的云服务器需重启后新密码才能生效,默认勾选“自动重启”。
③ 单击“确认”。
④ 在资源卡片上,单击“远程登录”。
⑤ 根据界面提示,输入用户名密码登录云服务器。
用户名为root,密码为步骤2设置的密码。
⑥ 执行如下命令,运行nginx_huaweicloud.sh脚本
wget -N && bash nginx_huaweicloud.sh
因为Nginx安全级别过高,可能导致部分镜像功能不可用。可通过运行nginx_huaweicloud.sh脚本解决。
须知:云服务器没有初始密码,在第一次使用云服务器时,请先设置密码。密码丢失或密码过期时,亦需要通过重置密码获取新的密码。
3.配置安全组
① 单击云耀云服务器L实例卡片,进入资源管理页面。
② 在左侧列表中选择“云耀云服务器L实例”菜单,单击云服务器名称,进入云服务器详情页面。

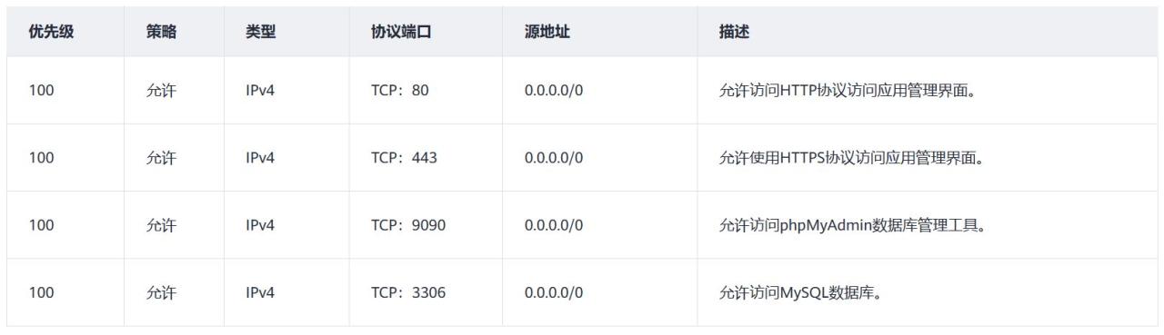
③ 选择“安全组”页签,单击“添加规则”,添加如下规则,单击“确定”。
本例只添加常用规则,您可根据需要添加更多规则。

表1 安全组规则

4.添加并解析域名(可选)
请为服务器添加并解析域名保护网站安全,并且方便您的用户访问网站。如果您仅为个人开发或测试使用,可以不添加域名。
① 选择“域名”页签,单击“添加域名”。
② 输入域名,例如domaintest.com,单击“确定”。
请确保这里的域名已注册,如果您还没有域名,请单击“前往购买”注册域名(付费),具体操作详见流程指引。

③ 单击domaintest.com域名操作列表中的“解析域名”,设置域名前缀。
前缀和域名组成新的子域名。支持将域名或者子域名解析至当前云服务器公网IP。若域名前缀为空,表示将域名domaintest.com解析至当前服务器公网IP。
④ 在“域名”页签查看解析的域名。
⑤ 备案域名。
要想通过域名成功访问服务器,必须备案域名。请在华为云备案中心备案此域名(免费),具体操作详见快速完成网站备案。
第二步、初始化WordPress
首次登录WordPress管理界面需要初始化,后续可直接登录管理界面。
1.在服务器“概览”页“镜像信息”中,单击“管理”登录管理界面。
请初始化WordPress完成后,单击“访问”预览前台界面。

2.设置WordPress管理界面语言,单击“继续”。

3.设置网站标题、WordPress管理员用户名、密码和邮箱, 单击“安装WordPress”。
请妥善保管您的网站管理员用户名、密码和邮箱。当忘记密码时,可根据此邮箱重置密码。

4.单击“登录”。输入管理员用户名、密码登录WordPress管理界面,开始部署应用。

至此,您已获得一台完备的WordPress应用云耀云服务器L实例。您可以开始运营网站,也可以按照部署应用中的步骤,进行设置主题、安装插件、配置SMTP、配置域名、找回密码操作。
第三步:部署应用
管理外观
WordPress具有丰富的主题模板,您可以选择合适的主题模板使您的网站与众不同。不同的主题可以在不改变网站内容和结构的情况下,更改界面和WordPress站点的功能。
1.选择“外观 > 主题”。
您可以使用WordPress默认安装以及启用的主题,也可以单击“安装主题”或“添加新主题”使用其他主题。使用其他主题时:
l您可以使用WordPress主题库的主题:直接搜索或者根据分类选择主题。
l您也可以使用第三方主题:单击“上传主题”上传第三方主题。

2.安装主题后单击“启用”,您的网站即启用新主题。
4.启用主题后,选择“页面 > 新建页面”,通过主题自带的Fusion构建器可灵活构建网页。

管理插件
WordPress具有丰富的插件库,这些插件极大拓展了WordPress的功能。本文介绍如何在WordPress网站中使用插件。
l选择“插件 > 已安装的插件”,查看已安装的插件。
在这个页面,您可查看已安装的所有插件。同时可以点击某个插件的详情,并查看插件的开发商信息、以及功能介绍。

l选择“插件 > 安装插件”,进入插件列表页面安装插件。
¡您可以安装WordPress插件库中的插件:右上角搜索插件关键词或者根据分类选择插件。
¡您也可以使用第三方插件:单击“上传插件”,上传第三方插件后进行安装。

配置邮箱
本文以为网站配置163邮件为例,介绍通过WP Mail SMTP插件配置邮件通知功能。通过邮件发送功能,您可以找回网站管理员密码。当Wordpress有新用户注册、新评论等,通过邮件发送功能也可以给管理员发送邮件提醒。
1.选择“设置 > 常规”,设置好需要用于发件的邮件地址

2.安装WP Mail SMTP插件。
a.在WordPress后台管理页面,选择“插件 > 安装插件”。
b.搜索关键词WP Mail SMTP,单击WP Mail SMTP插件上的“立即安装”按钮,完成安装后,单击“启用”。

3.单击“返回仪表盘”配置SMTP,配置后单击“保存设置”。
以下为主要配置项,本例以163邮箱为例,如果您使用的其他邮箱,请输入对应的SMTP参数。

4.测试邮箱是否可用。
选择“电邮测试”页签,输入一个收件地址用于测试。
l如果测试成功,显示“Your email was sent successfully!”。
l如果邮件配置不可用,则会显示“There was a problem while sending the test email.”。
SMTP配置成功后,WordPress网站后台就会使用example@163.com邮箱地址发送邮件。

WordPress域名配置
当云服务器绑定了域名,或者移除原域名绑定了新域名,需要在WordPress同步配置域名,这样才能使用域名正常访问WordPress网站。
在WordPress后台管理页面,选择“设置 >常规”,将WordPress地址和站点地址设置为新的域名,保存后生效。

找回密码
当您遗忘WordPress管理员密码时,可通过发送邮件找回密码(需要提前对WordPress配置SMTP功能)。如果您没有配置SMTP功能,可通过数据库管理面板phpMyAdmin找回密码。
l通过发送邮件找回密码
1.在管理后台登录页面,点击“忘记密码”,按提示找回密码。

2.输入用户名或电子邮箱地址,单击“获取新密码”。
即可在邮箱中收到系统发送的新密码。

3.选择“用户 > 我的个人资料”,设置便于记忆的密码,单击“更新个人资料”。

l通过数据库管理面板phpMyAdmin找回密码
1.远程连接云服务器,运行sudo cat /credentials/password.txt命令,获取phpMyAdmin的登录密码。

2.使用本地电脑的Chrome或Firefox浏览器访问网址http://公网IP:9090,登录phpMyAdmin。
¡服务器:云服务器公网IP+空格+3306,例如x.x.x.x 3306。
¡用户名:wordpress
¡密码:Clq*****

3.在“wordpress”数据库下选择wp_users表格,单击“编辑”。

4.编辑WordPress管理员的账号密码,本例修改密码为“Admin@test123..”。
选择MD5加密密码,保证数据安全。

5.点击“执行”,密码生效。
以上就是使用华为云云耀云服务L实例落地并使用WordPress快速搭建网站的流程,如果你正在企业建站、跨境电商及个人博客的搭建,可以按照此教程操作。
8月22日-9月15日,华为云828营销季火热进行中!多款明星产品和解决方案汇聚一堂,为千行百业及个人开发者提供技术支持、降低上云成本、实现创新发展。即刻登录华为云官网,畅享华为云828营销季专属福利,抓住上云采购好时机!
原文链接:https://blog.csdn.net/2301_78032981/article/details/132369235
















